宝马M5终极性能版即将发布,特斯拉德国超级工厂被迫叫停
2020年12月10 17:25 来源:蜀锦传媒新车动态:宝马即将在12月中下旬发布宝马M5 CS车型;日产官方透露了一组全新逍客的内饰预告图和信息;奥迪e-tron GT将在德国Böllinger Höfe工厂开始量产;福特官方发布了旗下福特F-150 Tremor版车型的官图;海外媒体曝光了一组新一代三菱欧蓝德无伪装谍照。
行业动态:环保组织NABU和Grüne Liga向法兰克福行政法庭控诉特斯拉,特斯拉德国超级工厂建设被迫暂停;上汽集团公布11月销量成绩,同比去年11月份的581,932增长了10.65%;华为技术有限公司以3.39亿元成功竞得白云区华侨糖厂地块,据悉华为未来或将在此处修建广州研发中心。
01

近日,我们从相关渠道获悉,宝马即将在12月中下旬发布宝马M5 CS车型。新车定位中大型四门性能轿车,是一款比宝马M5雷霆版还要狂躁的性能机器,将搭载635马力的V8涡轮增压发动机。新车主要将在动力与操控方面有所提升,CS版本将搭载4.4T双涡轮增压V8发动机,最大功率635马力,最大扭矩750牛·米,相较于M5雷霆版,功率提升了10马力。传动系统方面,新车匹配8速手自一体变速箱和可切换后驱模式的M xDrive四驱系统。
——宝马M5的终极性能版,期待它在赛道的表现。
02

据德国媒体报道,当地环保组织NABU和Grüne Liga向法兰克福行政法庭控诉特斯拉,称其为开垦超级工厂用地而大量伐木,破坏了生态环境。接到控诉后,法庭迅速出手,叫停了特斯拉德国超级工厂相关建设事宜。据悉,特斯拉德国超级工厂的选址位于一个自然保护区内,此前当地环保部门已经为特斯拉颁发过伐木许可,允许其砍伐所在地内82.8公顷的森林,不过当地居民和环保人士仍然认为特斯拉的相关行为会破坏生态环境,尤其是会污染当地居民的饮用水。
——10月份,大众ID.3超过Model 3成为欧洲新能源车销量冠军,特斯拉德国超级工厂的建设应加快步伐了。
03

新一代日产逍客即将于2021年正式发布,近日官方透露了一组新车的内饰预告图和信息,从内饰来看,新车将启用一套最新的设计思路。新一代逍客将使用一套全新的内饰设计风格,可以看出新车将拥有全新的多功能方向盘,同时开始配备12.3英寸的全液晶仪表盘,此外根据官方透露,新车还将在高配车型上增加10.8英寸的抬头显示器,从而将重要的驾驶信息投影至驾驶者前方。
——内饰精致度提升了不少。
04

近日,上汽集团公布11月销量成绩,数据显示,上汽集团11月销量共计643,928辆,同比去年11月份的581,932增长了10.65%;除了上汽大众,上汽集团旗下各个板块均已明显回暖,较去年同期有所增长。截止目前,上汽大众销量连续11个月下滑,从1-11月份累计销量来看,上汽大众对上汽集团的贡献已经从第一名降到第二名,而上汽通用五菱则位居第一。
——这其中有中保研的影响吗?
05

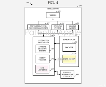
日前,据海外媒体报道,美国专利商标局授予了苹果公司一项专利,名为“障碍物探测”(Barrier detection)系统,能够利用激光雷达探测车辆路径上的障碍物。专利文件中写道:“激光雷达数据可为自动驾驶车辆控制器所用,用于探测车辆环境中的物体,而且此类信息可用在动态环境中,为车辆提供导航以及运动规划。”苹果“障碍物探测”系统能够将激光雷达数据应用到有关周围环境的鸟瞰图上。在此基础上,机器学习技术可以根据地图上物体的特征,对物体进行不同的分类。
——苹果申请的专利并不少,不知此次瞄向汽车行业有何目的。
06

日前,蜀锦传媒从广州市白云区政府官网获悉,华为技术有限公司以3.39亿元成功竞得白云区华侨糖厂地块。据悉,华为未来或将在此处修建广州研发中心,用于智能汽车、云计算及物联网等技术领域的研发。此前,白云区人民政府和华为技术有限公司就签署了投资框架协议,建设广州华为研发中心,就共同推动广州市智慧城市、云计算及物联网等产业发展达成全方位、深层次战略合作。这是继2017年白云区与华为公司合作共建“三中心一平台”后,双方再次携手达成的全方位、深层次战略合作。
——华为不会造车,目标是帮助车企造智能车。
07

近日,我们从奥迪官方获悉,奥迪e-tron GT将在德国Böllinger Höfe工厂开始量产,该车生产采用100%的生态电力和可再生能源热能,实现了碳中和生产,这也预示着该工厂将进入碳中和时代,走向可持续发展道路。同时,官方宣布奥迪e-tron GT将于2021年春季开始接受订单。此外,该工厂也是插电式混合动力车的主要生产基地,生产的奥迪电动车种类最多,包括插混版和轻混版奥迪A6、奥迪A7和奥迪A8,而奥迪e-tron GT将成为在德国工厂生产的首款奥迪纯电动车型。
——关键点在于,奥迪e-tron GT什么时候能上市?
08

近日,福特官方发布了旗下福特F-150 Tremor版车型的官图。新车定位在F-150猛禽版本之下,但也将提供强大的越野能力与动力性能,搭载3.5T涡轮增压V6发动机,最大功率380马力,最大扭矩672牛·米。传动系统方面,匹配10速手自一体变速箱与四轮驱动系统,还将标配前后差速锁,并装配了底盘防护板。据悉,新车或将于2021年夏天正式亮相。
——进入中国市场后的售价还是不会便宜。
09

近日,海外媒体曝光了一组新一代三菱欧蓝德无伪装谍照,新车外观更富设计感,大气且霸气十足,动力方面则有望采用2.0L/2.4L汽油发动机或2.4L插电混动系统。外形方面,新车汲取了三菱Engelberg Tourer概念车(2019上海车展国内首发时命名为“e-Yi概念车”)的设计风格,例如独特的分体式大灯,内置了条状LED日行灯的三角形灯组,下部灯组则有着更大的占比面积,矩形灯带呈现纵向排列。据悉,全新三菱欧蓝德将采用雷诺-日产联盟的CMF平台而打造。
——长得有点像帕杰罗劲畅。
10

日前,我们从最新一期的工信部申报图获得了欧拉黑猫特别版车型申报信息。新车整体设计延续了现款车型,但在其车门处增添了个性化的涂装,看上去更显可爱。
——女孩子可能更喜欢粉色的涂装。



























