马自达CX-50或将搭载六缸发动机;特斯拉Model 3售价上涨
2021年05月08 17:31 来源:蜀锦传媒新车动态:马自达CX-50或将搭载六缸发动机;国产Model 3标准续航后驱升级版上涨1000元;欧尚X5新增车型——1.6L手动豪华型上市,官方指导售价7.59万元;现代IONIQ(艾尼氪)5在英国市场公布了售价并上市销售。
行业动态:长安汽车4月销售新车20.23万辆;本田中国4月终端汽车销量为149423辆,同比增长31.7%,创历年4月单月销量历史最高纪录;比亚迪公布4月销量情况,新能源汽车销量为25662辆,纯电动汽车销量为16114辆;尽力避免极端订单,滴滴回应抽成过高;丰田汽车申请双涡轮增压V8发动机专利。
01
我们从海外媒体处获取了一组马自达CX-50的谍照,全车覆盖着大面积的伪装,但车头部分却显露了出来。从谍照上看,新车采用了纤细的大灯和五边形格栅,显得十分犀利;同时,新车的发动机盖隆起,似乎是为新的六缸发动机做准备。外媒称,新车或将标配18-20寸轮圈,配合尾部的大直径排气管也让新车显得运动十足。新车或将定位为一款高性能轿跑SUV车型,可能会采用与MX-30一样的对开门设计,这样的设计在马自达RX-8上也同样使用过。
——引入国内的概率极低。
02
我们从官方获悉,特斯拉对国产Model 3标准续航后驱升级版进行了调价,上涨1000元人民币,调整后该车型补贴后售价为25.09万元,而Model 3 Performance高性能全轮驱动版价格则没有变动。
——这个时间节点还涨价1000......
03
长安汽车公布最新销量。数据显示,长安汽车4月销售新车20.23万辆,同比增长26.78%;1-4月,累计销量84.33万辆,同比增长82.32%。长安汽车旗下自主和合资板块形成鲜明对比。合资板块方面,今年4月,长安福特贡献销量1.54万辆,同比减少24.93%;长安马自达贡献销量1.13万辆,同比下降3.90%。自主板块方面,重庆长安销售8.50万辆,同比增长80.54%;合肥长安销售2.10万辆,同比增长8.92%;河北长安销售1.00万辆,同比增长18.71%。
——长安在技术这块没得说,特别是蓝鲸动力系统。
04
本田发布4月在华终端汽车销量。数据显示,本田中国4月终端汽车销量为149423辆,同比增长31.7%,创历年4月单月销量历史最高纪录。其中广汽本田4月终端销量为64500辆,同比增长10.4%。东风本田4月终端销量为84923辆,同比增长54.3%。4月,雅阁、缤智、皓影、本田CR-V、思域及XR-V六款车型月销量均超过1万辆,而本田CR-V车型月销量更是超过2万辆。
——4月份,车企的销量数据都挺好看的。
05
欧尚X5新增车型——1.6L手动豪华型上市,官方指导售价7.59万元。而此前新车共有8款配置车型,售价区间为6.99万元-10.29万元。配置方面,新车与1.6L自动豪华型的配置基本相同,但增加了小天窗、仿皮方向盘/座椅、主副驾驶化妆镜等舒适配置,以满足用户的需求。
——1.6L手动卖7.59万,还是有点贵了。
06
现代IONIQ(艾尼氪)5在英国市场公布了售价并上市销售,共提供7款配置,售价区间为36995英镑-481145英镑(约合人民币33.2万元-43.2万元)。新车基于E-GMP平台打造,定位为纯电动中型SUV,其最大续航里程为483km(WLTP工况)。该款车型已在上海车展中完成了国内亮相,预计最早于年内由北京现代实现本土化生产。
——这车的设计,售价进入20万元内,还是有很大的热卖机会。
07
比亚迪公布4月销量情况。数据显示,4月份,该公司的新能源汽车销量为25662辆,同比增长97.48%。其中,纯电动汽车销量为16114辆,同比增长61.69%;燃油汽车4月销量19572辆,同比增长4.03%;总体4月份销量45234辆,同比增长42.2%。1-4月,比亚迪累计销量同比增长60.48%。
——新能源销量比燃油车高,应该就比亚迪能达成了。
08
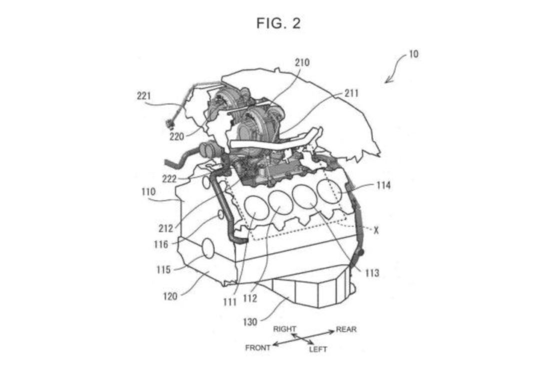
在海外论坛上曝光了丰田在2020年9月提交的专利申请。不同于常规的涡轮增压发动机,丰田全新的V8发动机将涡轮位置放置在了更靠近进气歧管的位置,从而可以提升油门响应速度并降低涡轮迟滞。外媒预计双涡轮增压发动机至少具有608马力(447千瓦)的功率。外媒报道称,新的发动机产品将应用在下一代雷克萨斯的高性能汽车中,例如雷克萨斯LS F、LC F和IS F。
——电动化时代推出的大排量发动机,以后难得了。
09
从上海市商务委获悉,为促进汽车消费提质升级,上海市商务委会同市财政局制订发布了《本市老旧汽车报废更新补贴实施细则》,明确提出给予符合要求的个人汽车消费者适当的财政补贴。根据上述细则,个人消费者报废或转出在上海注册登记的国四及以下排放标准的燃油汽车,同时在上海注册登记的汽车销售企业购买符合要求的国六及以上排放标准燃油新车,可以享受每辆车2800元人民币的财政补贴。
——2800元的补贴,也算贴补点油价。
10
5月7日晚,滴滴官方回应了近期被指“抽成过高”问题,称确实存在一部分司机收入占比较低的订单,如顺路单;其中,抽成高于30%的订单占总订单的2.7%,类似极端情况下的订单虽然占比不高,但是确实给司机师傅造成了困扰。公司在陆续排查出现极端订单的原因,尽全力避免极端情况的出现,将持续推进平台收费定价公开透明。
——用高德等集合式打车软件要更划算一点。



























